联系人:肖经理
电话:0755-23197339
传真:0755-29859300
手机:13828771664
邮箱:aotuoshi@atus.email
地址:深圳市光明区公明街道上村社区莲塘工业城B区第19栋101、第20栋
在写这篇文章之前,澳托士有给大家介绍过力士乐液压马达偏心曲轴的主要结构特点(力士乐液压马达偏心曲轴的主要结构特点)以及加工概况(力士乐液压马达偏心曲轴的加工概况是怎样的?)。大家应该都对其有了一定的了解,今天澳托士就来给大家说说另一个,力士乐液压马达配流轴的主要结构特点和加工概况。

(一)主要结构特点
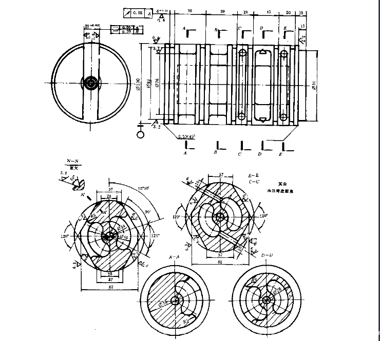
图2-17为力士乐液压马达的配流轴零件工作图。主视图中心处钻有通孔,沟通配流轴前、后两端,以使轴向力得到平衡,为配流轴的浮动,在轴向方向上完成了所需的条件。
图2-17中的A-A剖面和B-B剖面是马达进油或出油配合轴颈处的状况;D-D剖面为配流轴颈的具体结构,而E一E和C-C为平衡D-D剖面配流轴颈处单侧径向力而配设的平衡油槽的状况,其平衡工作原理见图2-11,此处不再赘述。

(二)加工概况
(l)铸造成型,材料通常为球墨铸铁QT600-3。
(2)正火。多在箱式电阻炉内进行,一般在840-880℃保温1-3h后,在空气中冷却,正火后,安排一次消除内应力回火。要求最终硬度为HB240-310.
(3)以轴向基准划线。
(4)粗车外圆柱面和轴向长度符合尺寸。
(5)精车外圆柱面及各档槽孔。
(6)上专用夹、模具,锐十字滑块槽。
(7)在专用夹、模具上,翻身旋转一定角度,铣切平衡油槽。
(8)钻制有关平衡油孔。
(9)钻制轴向通孔,攻丝9
(10)精磨外圆至规定尺寸和形位精度。
(11)去毛刺后,检验、人库。